https://t.me/AI_News_CN
📈主流AI服务状态页通知 | 🆕汇集全网ChatGPT/AI新闻 #AI #ChatGPT
🔙备用群 https://t.me/gpt345
BEST AI中转 https://api.oaibest.com 2.8折起 支持OpenAI, Claude code, Gemini,Grok, Deepseek, Midjourney, 文件上传分析

Buy ads: https://telega.io/c/AI_News_CN
xAI完成200亿美元融资 投资者中包括英伟达

马斯克旗下开发Grok聊天机器人的AI公司xAI宣布已在E轮融资中筹集200亿美元。该公司在一篇博客文章中写道,投资者包括Valor股权合伙公司、富达投资、卡塔尔投资局等机构,其中英伟达公司和思科公司将作为“战略投资者”参与。xAI 未披露这些投资是以股权还是债务形式进行。xAI表示,其社交媒体平台X和Grok目前拥有约6亿月活跃用户,新融资将用于继续扩展数据中心和Grok模型。然而,随着xAI的发展,其造成危害的能力也在增强。xAI目前正接受欧盟、英国、印度、马来西亚和法国等国际监管机构的调查。

—— Techcrunch

via 风向旗参考快讯 - Telegram Channel
黄仁勋等英伟达高管齐发积极信号 看好公司营收比预测更加乐观

英伟达表示,得益于强劲的需求,10月发布的积极营收预测只会变得更加乐观,这回应了有关人工智能支出泡沫的担忧。该公司周二在拉斯维加斯消费电子展上表示,大客户交易以及新型人工智能模型的日益普及,带来了超出预期的订单。去年10月,英伟达曾预测到2026年底,现有和未来数据中心芯片的收入将达到约5000亿美元。

英伟达首席执行官黄仁勋周二在拉斯维加斯举行的CES展会上发表讲话。

虽然该公司没有提供新的数字,但暗示在此期间的收入将超过5000亿美元。

“我们今年应该会非常好,”首席执行官黄仁勋在新闻发布会上表示。与人工智能提供商Anthropic PBC等公司的合作,以及市场前景的改善,“应该会提高我们对这一数字的预期”。

英伟达的前景展望对于缓解投资者对人工智能行业的担忧至关重要。这家为人工智能模型提供芯片的公司一直坚称,由于人工智能带来的收益巨大,客户支出将保持强劲。

英伟达首席财务官Colette Kress在摩根大通举办的一场活动上表示,除了人工智能之外,企业的数据处理需求也在推动对下一代计算的需求。这将推动整体投资额到2030年末达到数万亿美元。

她说:“实际数字肯定比这5000亿美元更大”。

然而,这些言论并未打动投资者。英伟达股价在纽约收盘下跌不到1%,至187.28美元。该股去年累计上涨了39%。

一个关键问题是,英伟达能否重返欣欣向荣的人工智能芯片市场。黄仁勋说:“客户需求很高,相当高,非常高。我们已经全面启动了供应链,H200正在生产线上顺利推进。”

他还表示,美国政府的许可细节正在敲定中。

via cnBeta.COM - 中文业界资讯站 (author: 稿源:环球市场播报)
苏姿丰:人工智能并非取代人类 而是改变招聘标准

AMD 首席执行官苏姿丰于周二表示,人工智能技术的兴起并未放缓公司的招聘节奏,反而是那些真正接纳该技术的求职者,成了招聘过程中的优先选择对象。“我可以明确地说,我们并没有减少招聘人数。”

苏姿丰于拉斯维加斯举办的国际消费电子展(CES)期间,接受专访时表示,“坦白讲,公司目前正处于高速发展阶段,所以我们实际上仍在大量招人,只是招聘的人才类型有所不同。我们要找的,是具备人工智能前瞻性思维的人。”

AMD 研发的GPU芯片可用于人工智能模型训练及处理大规模人工智能运算任务,这让公司在此次人工智能热潮中占据了核心地位。该公司的直接竞争对手是英伟达,有数据估算显示,英伟达在人工智能芯片市场的占有率超 90%,处于绝对主导地位。

约三年前,随着OpenAI推出聊天机器人 ChatGPT,人工智能技术迅速跻身主流视野。而该技术的飞速发展,也引发了人们对就业稳定性以及劳动力市场未来走向的担忧。

AMD 正将人工智能技术融入芯片的研发、设计、制造与测试全流程。苏姿丰强调,公司当前的招聘对象,正是那些真正接纳人工智能技术的人才。

就在苏姿丰发表上述言论的前一天,明尼阿波利斯联邦储备银行行长尼尔・卡什卡里曾表示,人工智能技术正导致大型企业放缓招聘步伐。他预计,劳动力市场未来将持续呈现 “低招聘、低解雇” 的态势。

根据 AMD 向美国证券交易委员会提交的文件显示,截至 2024 年 12 月,该公司在全球范围内的员工总数约为 2.8 万人。

苏姿丰表示:“我认为,人工智能的作用是增强我们的能力。它并没有取代人类,实际上,它只是在提升我们的生产效率,让我们能够在同一时间内研发出更多种类的产品。”

via cnBeta.COM - 中文业界资讯站 (author: 稿源:环球市场播报)
马斯克的xAI宣布在一轮融资中筹集200亿美元 原定目标150亿美元

马斯克的xAI宣布在一轮融资中筹集了200亿美元,超过了此前150亿美元的目标。此轮融资将使这家人工智能初创公司的估值达到约2300亿美元。投资者包括英伟达(Nvidia)和思科投资(Cisco Investments),以及长期支持马斯克旗下公司的Valor Equity Partners、Stepstone Group、富达投资(Fidelity)、卡塔尔投资局(Qatar Investment Authority)、阿布扎比的MGX和巴伦资本集团(Baron Capital Group)。

英伟达和思科均作为供应商和战略合作伙伴与xAI合作。

人工智能初创公司在2025年达到了极高的估值,筹集了巨额资金以满足对其基础模型看似无止境的需求。去年10月,OpenAI以5000亿美元的估值完成了66亿美元的股票出售;一个月后,Anthropic的估值约为3500亿美元,其资金来自微软和英伟达。

马斯克的人工智能公司现已拥有并运营其社交网络X,该公司于今年3月与原名为Twitter的公司合并。

via cnBeta.COM - 中文业界资讯站 (author: 稿源:环球市场播报)
ChatGPT issues while retrieving workspace members

Status: Investigating

We are investigating the issue for the listed services.

Affected components
Image Generation (Degraded performance)
GPTs (Degraded performance)
Agent (Degraded performance)
Connectors (Degraded performance)
File uploads (Degraded performance)
Search (Degraded performance)
Conversations (Degraded performance)
Deep Research (Degraded performance)
Codex (Degraded performance)
ChatGPT Atlas (Degraded performance)
Login (Degraded performance)
Voice mode (Degraded performance)
Compliance API (Degraded performance)

via OpenAI status
👉 名称:LiYing
🤖 类型:🎯项目
👏 介绍:LiYing 是一套适用于自动化 完成一般照相馆后期证件照处理流程的照片自动处理的程序:

via 老胡周刊资源分享频道 - Telegram Channel
Meta推迟在国际上发售Ray-Ban Display眼镜

那些原本打算入手Meta的 Ray-Ban Display智能眼镜的国际消费者恐怕还要再等一段时间。Meta公司宣布,由于前所未有的需求和有限的库存,该公司将暂停于2026年初向英国、法国、意大利和加拿大推出该智能眼镜的计划。Meta在国际消费电子展博客文章中表示:“自去年秋季推出以来,我们看到了超乎寻常的关注度,因此产品等候名单现已延续到2026年。我们将继续专注于完成美国市场的订单交付,同时重新评估国际市场的发售策略。”Meta 尚未为国际推广提供新的目标日期。此外,Meta还宣布正在为Ray-Ban Display眼镜添加提词器和虚拟书写功能。

—— Theverge

via 风向旗参考快讯 - Telegram Channel
💰 AI初创公司LMArena完成1.5亿美元融资,估值升至17亿美元

AI初创公司LMArena(原名Chatbot Arena)周二宣布完成1.5亿美元的新一轮融资,公司估值在约八个月内增长至17亿美元。本轮融资由Felicis和加州大学投资部(UC Investments)共同领投,参投方包括Andreessen Horowitz、The House Fund、LDVP、Kleiner Perkins、Lightspeed Venture Partners和Laude Ventures。此前,该公司曾在5月的种子轮融资中筹集了1亿美元。

LMArena运营一个基于Web的平台,通过匿名和众包评估的方式,供用户对比OpenAI的ChatGPT、Anthropic的Claude及谷歌的Gemini等大语言模型。联合创始人兼首席执行官Anastasios Angelopoulos表示,该平台旨在通过真实用户的使用来衡量人工智能的实际效用。LMArena表示,新筹集的资金将用于支持平台运营、扩大技术团队规模并加强研究能力。

(路透社)

via 茶馆 - Telegram Channel
💻 SQLite 坚持使用 C 语言开发的核心原因与考量

自 2000 年 5 月 29 日诞生以来,SQLite 始终采用通用 C 语言实现,且目前没有计划使用其他语言重写。开发者认为 C 语言在性能、兼容性、低依赖性和稳定性方面是实现 SQLite 这类软件库的最佳选择。在性能方面,C 语言作为“可移植的汇编语言”,允许开发者尽可能接近底层硬件,目前没有其他通用编程语言在执行速度上超越 C。在兼容性上,C 语言编写的库几乎可以被所有系统和编程语言调用,这使得 SQLite 能够跨平台支持 Android(Java)和 iPhone(Objective-C/Swift)等不同环境。此外,SQLite 对外部依赖极低,在最小配置下仅需 memcmp、memcpy 等少数标准 C 库函数,无需像现代语言那样加载数兆字节的运行时环境。C 语言的成熟与稳定也确保了开发过程不会因语言规范的频繁变动而受到干扰。

针对为何不使用面向对象语言或“安全”语言的疑问,SQLite 团队提供了明确的技术解释。开发者指出,面向对象是一种设计模式而非语言限制,C 语言同样可以实现面向对象设计,且 C 语言库比 C++ 或 Java 库更易于被跨语言调用。关于 Rust 或 Go 等安全语言,SQLite 诞生前十年这些语言尚未出现。目前不转用此类语言的原因在于,安全语言引入的额外分支检查(如数组越界检查)可能导致代码变慢,且这些永远不会被执行的检查分支会导致机器码无法通过 SQLite 质量策略要求的 100% 分支测试。同时,SQLite 能够从内存不足(OOM)的情况中优雅恢复,而许多安全语言在 OOM 时倾向于直接中止。虽然 SQLite 团队不排除未来使用 Rust 的可能性,但前提是 Rust 需在成熟度、跨语言调用能力、嵌入式设备支持、分支覆盖测试工具以及 OOM 处理机制等方面满足特定要求。

(HackerNews)

via 茶馆 - Telegram Channel
📊 研究显示 Hacker News 65% 的帖子带有负面情绪且互动表现更佳

一项针对 Hacker News (HN) 关注度动态的实证研究显示,该平台上约 65% 的帖子呈现负面情绪。通过对 32,000 个帖子和 340,000 条评论的分析,研究发现带有负面情绪的帖子平均得分为 35.6 分,而平台整体平均得分为 28 分,负面内容在互动表现上高出 27%。为了验证这一现象,研究者测试了六种不同的模型,包括三种基于 Transformer 的分类器(DistilBERT、BERT Multi、RoBERTa)和三种大语言模型(Llama 3.1 8B、Mistral 3.1 24B、Gemma 3 12B),所有模型均显示出一致的负面偏斜趋势。

在该研究的分类标准中,“负面”情绪主要指代对技术的批评、对新发布的怀疑、对行业惯例的抱怨以及对 API 的不满。作者指出,HN 上的负面内容大多属于实质性的技术批评,而非人身攻击。该研究涵盖了衰减曲线、优先连接、生存概率及早期参与预测等多个维度,相关预印本已在 SSRN 发布。作者计划在近期公开完整代码、数据集以及 HN 归档仪表板。

(HackerNews)

via 茶馆 - Telegram Channel
🏥 OpenAI 披露 ChatGPT 在健康领域的应用现状

OpenAI 近日表示,每天有数百万用户利用 ChatGPT 获取健康相关信息。根据官方发布的内容,用户的咨询范围涵盖了对医疗信息的解析、为医生就诊预约准备相关问题,以及寻求管理整体健康状况的建议。

(@OpenAI)

via 茶馆 - Telegram Channel
🤖 预测人工智能未来走向的挑战与不确定因素

《麻省理工科技评论》(MIT Technology Review)在近期发布的分析中指出,预测人工智能(AI)的未来影响正变得愈发困难,这主要源于三个尚未解决的核心问题。首先,大语言模型(LLM)能否在短期内持续提升智能化水平存在不确定性,由于该技术是当前AI应用的核心支撑,其进步速度的放缓将对行业产生重大影响。其次,AI在公众中的接受度较低,例如OpenAI首席执行官萨姆·奥特曼(Sam Altman)与特朗普此前宣布的5000亿美元数据中心建设计划,在落地过程中遭遇了社区居民的强烈反对,科技巨头在扭转公众舆论方面面临挑战。第三,监管政策走向不明,尽管特朗普推动将AI监管权限从州级提升至联邦层面以符合科技企业的诉求,但包括加州立法者与联邦贸易委员会(FTC)在内的不同团体在约束AI企业及保护未成年人方面持有不同的动机与方案。

在科学应用领域,文章区分了不同AI技术的实际贡献。深度学习等技术已在蛋白质预测(如AlphaFold)和癌症识别中取得进展,但基于大语言模型的聊天机器人在科学发现方面的表现仍存在争议,部分关于其解决数学难题的报告被证实为虚假,且其在辅助医疗诊断时可能存在引导用户错误自诊的风险。目前,该机构已发布针对2026年的AI行业预测,涵盖了法律诉讼及技术趋势等多个维度,而过去一年的预测均已得到验证。

(MIT Technology Review)

via 茶馆 - Telegram Channel
Meta暂缓在欧洲推出雷朋智能眼镜

Facebook母公司Meta表示,该公司将推迟向美国以外的国家推出其最新款智能眼镜。这款与法意眼镜集团EssilorLuxottica合作开发的Ray-Ban Display智能眼镜原计划于今年年初在加拿大、法国、英国和意大利上市销售。但Meta传播经理莉萨·布朗·哈洛萨(Lisa Brown Jaloza)在该科技集团网站的一篇博客文章中写道,由于需求飙升、库存有限,海外推出计划将被推迟。

布朗·哈洛萨写道:“自去年秋季推出[该型号]以来,我们看到市场兴趣异常浓厚,因此,产品等候名单现在已排到2026年中后段。由于这种前所未有的需求和有限的库存,我们决定暂停计划中的国际扩张。”

她说:“我们将继续专注于满足美国的订单,同时重新评估我们的国际市场供货方式。”

生产雷朋(Ray-Ban)以及Oakleys和其他品牌眼镜的EssilorLuxottica去年表示,与Meta的合作提振了销售额,并预计随著更多消费者开始接受集成技术的眼镜,其营收将进一步加速增长。

Meta Ray-Ban Display于去年在美国推出,进一步推动了可穿戴技术日益增长的热潮。该设备可用于拍照和传输流媒体内容,与以前的智能眼镜不同,该型号配备了一个佩戴者可以用余光看到的小显示屏。这款眼镜还通过用户的智能手机与AI功能(如AI助手)相连。

Meta创始人兼CEO扎克伯格在该公司最近的业绩更新中告诉投资者:“我们在AI眼镜领域继续引领行业。”

近年来,AI功能的提升推动了可穿戴技术的飞速发展。谷歌计划今年发布由其大语言模型Gemini驱动的自有眼镜,而ChatGPT的所有者OpenAI料在2027年之前发布其自有的AI设备系列。

via cnBeta.COM - 中文业界资讯站 (author: 稿源:环球市场播报)
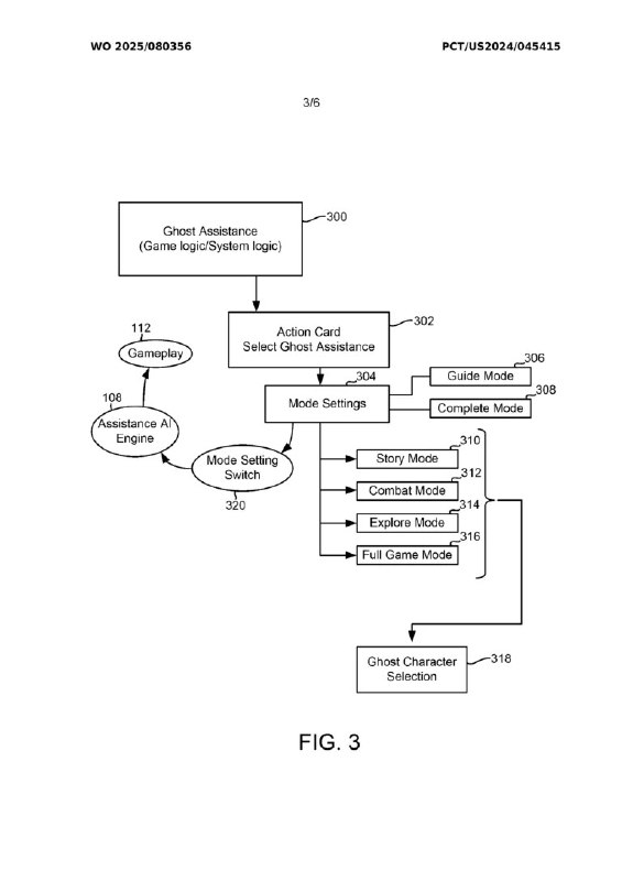
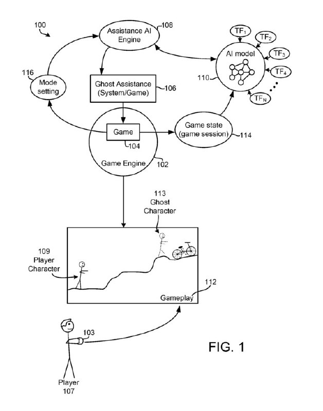
索尼AI专利:让PS游戏在玩家卡关时能自动运行

索尼已获得一项新技术专利,该技术借助人工智能(AI)让PlayStation游戏自动运行(自己玩自己)。根据专利文件中的描述,“幽灵玩家”功能可以让玩家召唤一个由人工智能生成的玩家角色的“幽灵”版本,该幽灵可以演示关卡特定部分的解决方案,或者完全打通游戏。

该专利最初于2024年9月提交申请,但世界知识产权组织本周发布了一份关于该专利的国际现状报告。

例如,如果玩家在《神秘海域》游戏中遇到谜题卡住了,“引导模式”会先让AI控制的内森·德雷克演示解法,然后再由玩家自己动手解谜。“完成模式”则会直接帮玩家完成该关卡。

游戏中出现辅助玩家进行解谜或战斗的模式非常普遍。很多游戏允许玩家跳过某些遭遇战,或者是如果感觉挑战太难而降低难度,而解谜游戏通常会提供提示系统(hint system),帮助那些完全卡关的玩家。

然而,一些索尼的现代游戏,例如《战神5:诸神黄昏》,因在解谜过程中给予玩家过多帮助而受到批评,因为NPC同伴会在谜题一开始就大声暗示谜题的答案。

据称,该AI模型将使用现有的游戏录像进行训练,而不是使用开发者预先录制的一系列输入。

AI生成的“幽灵玩家”系统似乎是PS5游戏帮助系统的升级版,该系统与PS5一同发布。在支持的情况下,PS5游戏帮助系统可以通过PS5卡片系统,以图片或视频的形式为玩家提供指导,玩家可以在游戏中调出这些卡片。

虽然该系统并未得到广泛应用,但由于无需在手机等其他屏幕上调出单独的指南,因此受到了喜欢收集奖杯的PlayStation粉丝的称赞。

人工智能驱动的游戏内助手在各种技术领域正变得越来越普遍。去年,微软推出了Copilot for Gaming,称之为“人工智能驱动助手”,旨在“成为您个性化的游戏伙伴”。

该系统最初定位为面向游戏经验较少玩家的指导工具。当时展示的一个例子是,一位《我的世界》玩家向“游戏助手”(Copilot for Gaming)询问木头可以做什么。

另一个例子是,玩家在Xbox移动应用上询问AI:“我想重新玩《帝国时代4》,你能帮我安装一下吗?” AI随后为玩家安装了游戏,并主动提出回顾一下玩家上次玩游戏时的剧情。

via cnBeta.COM - 中文业界资讯站 (author: 稿源:3DMGame)
Back to Top
Copyright © 2025 BESTAI. All rights reserved.
BEST AI API中转 - OpenAI DeepSeek Claude Gemini Grok MidJourney API 2.8折起
[email protected]